- A+
所属分类:热点事件
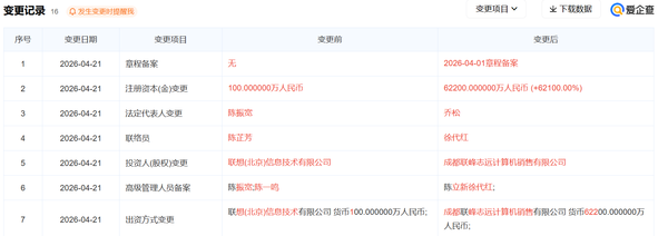
【御龙天下科技消息】4月28日,御龙天下从爱企查App获悉,联想(上海)科技有限公司于近日完成一系列工商变更,注册资本由100万元人民币猛增至6.22亿元人民币。同时,公司法定代表人由陈振宽变更为乔松。据悉,该公司成立于2019年9月,经营范围涵盖软件开发、计算机软硬件及辅助设备批发、办公设备销售、贸易经纪、非居住房地产租赁、信息咨询服务、自行车及零配件零售等。股权结构方面,变更后该公司由联想旗下成都联峰志远计算机销售有限公司全资持股。

联想

根据工商变更记录,此次变更主要涉及以下内容:
注册资本:由100万元人民币增至6.22亿元;
法定代表人:由陈振宽变更为乔松;
股东变更:由联想(北京)信息技术有限公司,变更为成都联峰志远计算机销售有限公司;
高级管理人员:陈振宽、陈一鸣退出,新增陈立新、徐代红;
出资方式:成都联峰志远计算机销售有限公司以货币出资62200万元。

有业内人士指出,联想(上海)科技有限公司注册资本从100万元激增至6.22亿元,通常反映出公司在业务拓展、项目承接或融资准备方面的战略布局。增资行为往往旨在满足特定项目对注册资本的门槛要求、提升企业信用评级以增强合作伙伴与客户的信任,或为后续引入战略投资者铺路。在科技行业,大规模增资也常伴随重大项目落地、新业务孵化或重大合同竞标。
与此同时,法定代表人变更为乔松,表明联想正在调整上海地区核心业务的管理架构。乔松在联想体系内担任多家公司的法定代表人,此次调整或意味着联想将进一步整合区域资源,提升上海科技板块的运营效率。




