- A+
所属分类:智能汽车
【CNMO科技消息】CNMO从外媒获悉,一份泄露的专利文件显示,丰田汽车正在为其计划于2028年推出的新一代纯电动汽车平台,构思一项有望彻底解决车内空间问题的创新设计。

丰田电动汽车
据悉,丰田在推出其新一代纯电动汽车后,很快意识到其产品与特斯拉等市场对手存在差距。这并未让丰田退出竞争,反而促使其在改进现有车型(如bZ4X)的同时,承诺将在2028年推出一个“在各方面都更强大”的全新纯电架构。
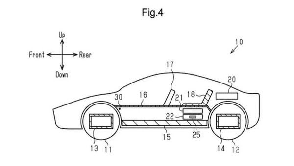
此次泄露的美国专利,揭示了丰田针对纯电动车普遍存在的空间难题所提出的解决方案。为了实现长续航,车辆需要搭载大容量电池,这通常意味着更长的轴距,但也会侵占乘员舱空间;而若使用较小电池,则可能被迫采用一些不尽人意的设计(例如大众ID.3为增加续航而抬高后排座椅的做法)。


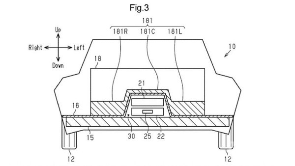
丰田的解决方案核心在于重新布局底盘下方的部件。新平台仍将电池平铺于地板下,但将关键的电子控制单元等部件移到了前排座椅之间的区域。这一设计不仅避免了传统燃油车传动通道的凸起,还带来了多重潜在优势:
释放空间:为后排乘客的头部和腿部腾出更多空间,并允许更灵活的车内布局,尤其有利于家庭用车。
优化性能:座椅得以安装得更低,从而降低车辆重心,提升驾驶动态。同时,部分供电线缆的长度得以缩短,有助于减轻车重。
保护部件:将精密的电子部件置于车内中央区域,也能为其提供更好的保护。
专利图纸展示了一款运动风格车型,这表明新平台将力求兼容从SUV、紧凑型车到轿车乃至跑车在内的多种车身形式。外媒表示,虽然这项设计与日产的可移动电池专利有相似思路,且被认为比虚拟模拟换挡等技术更有可能投入量产,但目前它仍只是一项专利,最终是否会实现尚不确定。




